Single
Span Series
24- and 30-Port Voice Processing Plus T-1/E-1 ISDN PRI Boards

Features and Benefits
-
High channel-per-slot
density: one T-1 ISDN span with 24 channels of voice
processing or one E-1 ISDN PRI span with 30 channels of voice
processing
-
Lets system integrators and developers to lower
costs by incorporating more ports per chassis, using less expensive
desktop-style machines, and easing configuration/installation
effort
-
Create more cost-effective switching solutions
via access to the SCbus and ECTF H.100 CT Bus; provides the
capability to build higher density systems and larger systems
-
Offered in both ISA and PCI form factors
SCbus support lets compatibility with a wide base of existing
hardware products, such as TTS and ASR functionality
-
PCI models have H.100/SCbus; ISA models can
interoperate with H.100 devices operating in SC mode using a
simple cable adapter
-
SpringWare, downloadable signal and call processing
firmware, provides easy feature enhancement and field- proven
performance based on over 4 million installed ports
PerfectDigit DTMF (touchtone) provides reliable detection during
voice playback lets callers "type-ahead" through menus
-
Three (T-1) or four (E-1) independent Motorola
DSP56002 DSPs, clocked at up to 66 MHz; each with private, high-speed
SRAM, permit execution of SpringWare signal processing algorithms
-
Two Intel 486 GX microprocessors off-load call
processing tasks from host PC, giving more power to the application
Configure multiple boards in a single PC for easy and cost-effective
system expansion on the computing platform that best fits your
needs
-
Supported in CT Media telephony server software
for Windows NT® and Windows 2000 which provides a standards-based
application development software platform and run-time environment
for building open telecommunication servers that can support
multiple applications*
-
Supports ISDN Primary Rate (see ISDN-PRI Support
section)
-
Supports BoardWatch, the SNMP-compatible software
for remote CT board management
-
* CT Media version 1.1 supports all ISA-based
SingleSpan boards
Enabling Services for the Next Generation
Network - The Next Generation Network (NGN) is poised to make
business communications systems dramatically more efficient, convenient,
and cost-effective.
Applications
-
Voice messaging
-
Interactive voice response
-
Debit card and international call back
-
Audiotex
-
Operator services
-
Telemarketing/call center
-
Dictation
-
Auto dialers
-
Notification systems
- Online data entry/query
The SingleSpan Series boards are ideal for developers
seeking to provide cost- effective, highly scalable, high-density
computer telephony (CT) solutions for voice processing applications
that require ISDN Primary Rate service termination plus 24 (T-1)
or 30 (E-1) voice ports in a single PC slot. A number of different
models are available. A unique dual processor architecture comprising
of digital signal processors (DSP) and general-purpose microprocessors
handles all telephony signaling and performs all DTMF (touchtone)
and audio/voice signal processing tasks.
Model Voice Ports Interface Form Factor Resource Bus OS Support
Connector Type
D240SC-T1 24 On-board DSX-1 PC AT ISA SCbus or PEB MS-DOS, OS/2,UNIX,
Windows NT & 2000 RJ-48C
D/240PCI-T1 24 On-board DSX-1 PCI SCbus/CT Bus UNIX,
Windows NT & 2000 RJ-48C
SingleSpan boards are available in both ISA and PCI form factors.
PCI models incorporate a CT Bus connector that supports SCbus
operation and H.100 operation.
Onboard DSPs provide variable voice encoding at bit rates of
24 and 32 Kb/s for adaptive differential pulse code modulation
(ADPCM) and bit rates of 48 and 64 Kb/s µ-law or A-law for
pulse code modulation (PCM). Sampling rates and coding methods
are selectable on a channel-by-channel basis. Applications may
dynamically switch sampling rate and coding method to optimize
data storage or voice quality as the need arises. SpringWare firmware
also provides reliable DTMF detection, DTMF cut-through, and talk
off/play off suppression over a wide variety of telephone line
conditions.
A rich set of advanced features are supported, including DSP
technology and signal processing algorithms for building the core
of any CT system. You can integrate voice products easily into
exactly the type of system you require
In real time, on all channels, SingleSpan voice boards can:
-
Connect to 24 or 30 telephone channels
-
Automatically answer calls
-
Detect touchtones
-
Play voice messages to a caller
-
Digitize, compress, and record voice signals
-
Place outbound calls and automatically report
the results
Configurations
SingleSpan
E-1/T-1 Capabilities
SingleSpan boards are used to develop sophisticated, multifunction
CT systems incorporating capabilities such as voice processing,
text-to-speech (TTS), and automatic speech recognition (ASR).
SingleSpan boards share a common hardware and firmware architecture
with other boards based on the SCbus for maximum flexibility and
scalability. Features can be added or systems can grow while protecting
investment in hardware and application code. With only minimum
modifications, applications can be easily ported to lower or higher
line-density platforms.
SingleSpan PCI boards install in any PCI-based personal computer
or server (PCI bus or mixed PCI/ISA bus) and compatible computers
(Intel x86, Digital AlphaServer, or Sun UltraSparc). Each board
occupies a single expansion slot and up to 16 boards can be configured
in a system.
SingleSpan ISA boards install in IBM PC AT® and compatible
computers (Intel386, Intel486, and Pentium processor-based PC
platforms). Each board occupies a single expansion slot and up
to 16 boards can be configured in a system with each board sharing
the same interrupt level.
In either case, PCI or ISA, the number of boards and channels
supported depends on the operating system used. The maximum number
of lines that can be supported depends on the application, the
amount of disk I/O required, and the host computer's CPU(s) and
power supply.
SingleSpan boards can operate in either terminate or drop and
insert configurations. In a terminate configuration, the board
handles the call processing of the digital audio and telephony
signaling. If additional resources, such as facsimile, TTS, or
ASR are required, the resources can be switched to the call via
the SCbus. A SingleSpan board installed as a terminating device
eliminates the need for a channel bank. No external channel bank
is required and the system operates as a standalone call-processing
node.
In a drop and insert configuration, a SingleSpan board and a
DTI board are connected via the SCbus and continuously pass all
T-1 or E-1 time slots through to each other. This configuration
can join two separate T-1 or E-1 lines, or it can be placed in-line
between a T-1 or E-1 line and a switch (a PBX, for example). Calls
on individual channels can either terminate at a call processing
resource on the SingleSpan board, or "flow through"
transparently from the SingleSpan board to the DTI board.
ISDN-PRI
Support
The ISDN Primary Rate Interface (PRI) firmware is a feature enhancement
to the Voice and Switching Products Series. The PRI firmware is
approved for use with many popular protocols in major markets,
based on both T-1 (1.544 Mb/s) and E-1 (2.048 Mb/s) physical interfaces.
Features
and benefits of ISDN PRI include:
-
ISDN Primary Rate connectivity to CT systems
Dialed Number Identification Service (DNIS) lets the application
to route incoming calls by automatically identifying the number
the caller dialed
-
Automatic Number Identification (ANI) lets the
application to identify the calling party
-
ANI-on-Demand feature saves money by selectively
requesting ANI information only when needed
ISDN offers inherent benefits to call center applications with
its fast call setup and fast retrieval of DNIS and ANI information
on inbound calls
-
Call-By-Call Service Selection lets an application
select the most efficient bearer channel service on a call-by-call
basis
Subaddressing allows direct connection to individual extensions
or devices sharing the same phone number, or as a proprietary
messaging mechanism
-
Powerful and universal software interface simplifies
access for developers who are unfamiliar with ISDN, yet lets
sophisticated control of features
-
Multinational approvals with many popular protocols
User-to-User Information lets an application send proprietary
messages to remote systems during call establishment
-
Facility, Notify, and optional Information Elements
(IEs) let applications work with network-specific supplementary
services
-
Software Support
SingleSpan PCI models are supported by System Software and Software
Development Kits for UNIX®, and Windows NT®. SingleSpan
ISA models are supported by System Software and Software Development
Kits for MS-DOS®, OS/2®, UNIX, and Windows NT. These packages
contain a set of tools for developing complex multichannel applications.
SingleSpan boards can use GlobalCall, a call control interface
that simplifies the development and use of compelled R2 and other
special signaling protocols.
For added flexibility, the D/240SC-T1 and D/300SC-E1 boards are
also supported in CT Media telephony server software. This
resource management software makes application development easier,
and lets applications from different suppliers written to standard
application programming interfaces APIs like ECTF S.100 and TAPI
to work together on a single server. CT Media server software
makes this possible by managing technology resources (boards and
host-based technologies) within the server, and providing basic
switching functions to multiple client applications.
CT Media software runs on Windows NT 4.0. A minimum of 24 MB
should be used in any field-deployable system, with 64 MB or more
recommended. A Pentium class processor is recommended, as is a
fast (i.e., SCSI II) disk I/O system.
The SingleSpan Series supports BoardWatch, the SNMP compatible
software for remote CT board management. BoardWatch simplifies
the management and lowers the total cost of operation of CT devices.
These centralized management capabilities provide a single point
of configuration and inventory for all network devices. Fault
management for high availability systems includes diagnostics,
detection, and recovery capabilities.
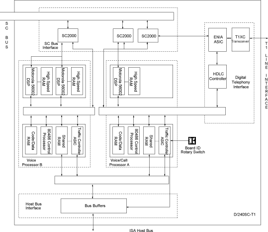
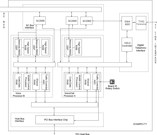
Functional
Descriptions of
D/240SC-T1 and D/240PCI-T1
Both the D/240SC-T1 and D/240PCI-T1 boards connect directly to
a channel service unit (CSU), digital service unit (DSU), or to
other network terminating equipment. The CSU chosen must support
the D4 or ESF (within ISDN) superframe format. Most functions
traditionally performed by a DSU (such as unipolar to bipolar
format conversion, framing, etc.) are performed by the D/240SC-T1
or D/240PCI-T1 board. The only exception is the ability to interpret
certain bipolar violation patterns, such as loopback start and
stop commands from the T-1 network.
Both boards process the digital on-hook/off-hook signaling information
and digital voice signals from the telephone network. Digital
T-1 signals enter the board via a T1XC line interface (see block
diagrams). The line interface contains a software switchable clock
which can be set to:
-
Loop (clocking is slaved to the external network)
-
Independent (clocking is derived from an onboard
oscillator)
-
Expansion (clocking is slaved to another bus
clock master board)
D/240SC-T1

The incoming T-1 bit stream is applied to an SC2000 chip that
acts as a traffic coordinator for each channel and as an interface
to the SCbus. This serial bit stream contains the digitized voice
data and the signaling information for the incoming call.
Each of three SC2000 chips on the D/240SC-T1 board (or two in
the case of the D/240PCI-T1 board) transmit several lower speed
data streams over a single high-speed channel. The bus configuration
is set when the firmware is downloaded at system initialization.
These chips incorporate matrix switching capabilities. Under control
of an onboard control processor, an SC2000 chip can connect a
call being processed or an available external resource to any
of the 1024 SCbus time slots. (The D/240SC-T1 board can also connect
to 24 PCM Expansion Bus PEB time slots.) This lets the application
to route calls to any added resource, such as fax, TTS, or ASR.
D/240PCI-T1

A DSP resource receives digital voice data via an SC2000 module.
The DSP processes the digitized voice data based on SpringWare
firmware loaded in its high-speed RAM. Each DSP performs the following
signal analysis and operations on this incoming data:
-
Performs automatic gain control (AGC) to compensate
for variations in the level of the incoming audio signal
Applies an ADPCM or PCM algorithm to compress the digitized
voice and save disk storage space
-
Detects the presence of tones DTMF, MF, or an
application-defined single or dual frequency tone
-
Detects silence to determine whether the line
is quiet and the caller is not responding
For
outbound data, the DSP performs the following operations:
-
Expands stored, compressed audio data for playback
Adjusts the volume and rate of speed of playback upon application
or user request
-
Generates tones DTMF, MF, or any application-defined
general-purpose tone
The dual processor combination also performs
the following outbound dialing and call progress monitoring
functions:
-
Transmits an off-hook signal to the telephone
network
Dials out (makes an outbound call)
-
Monitors and reports call progress results:
line busy or congested; operator intercept; ring, no answer;
or if the call is answered, whether answered by a person, an
answering machine, a facsimile, or a modem
-
When recording speech, the DSP can use different
digitizing rates from 24 to 64 Kb/s as selected by the application
for the best speech quality and most efficient storage. The
digitizing rate is selected on a channel-by-channel basis and
can be changed each time a record or play function is initiated.
The DSP processed speech is transmitted by the control processor
to the host PC for disk storage. When playing back a stored
file, the processor retrieves the voice information from the
host PC and passes it to the DSP, which converts the file into
digitized voice. The DSP uses the SCbus circuitry to send the
digitized voice responses to the caller via the T1XC line interface.
For SCbus configurations, the internal local bus operate at 2.048
Mb/s. For D/240SC-T1 PEB configurations, the external PEB and
the internal local bus operate at 1.544 Mb/s.
The High-Level Data Link Controller (HDLC) formats ISDN data.
The HDLC receives ISDN signaling data from the T1XC interface
and the Enhanced Network Interface ASIC (ENIA) and makes it available
to the control processor. It also formats and sends outbound signaling
data from the control processor to the network interface through
the ENIA ASIC and T1XC transceiver chip.
The onboard control processor(s) controls all operations of the
board via a local bus and interprets and executes commands from
the host PC. These processors handle real-time events, manage
data flow to the host PC to provide faster system response time,
reduce PC host processing demands, process DTMF and telephony
signaling before passing them to the application, and free the
DSPs to perform signal processing.
Communications between a processor and the host PC is via the
shared RAM that acts as an input/output buffer and thus increases
the efficiency of disk file transfers. This RAM interfaces to
the host PC via the ISA bus in the case of the D/240SC-T1 board
or the PCI bus in the case of the D/240PCI-T1 board. All operations
are interrupt-driven to meet the demands of real-time systems.
When the system is initialized, SpringWare firmware is downloaded
from the host PC to the onboard code/data RAM and DSP RAM to control
all board operations. This downloadable firmware gives the board
all of its intelligence and lets easy feature enhancement and
upgrades.
The Traffic Controller ASIC is the Intel486 control processor
interface that handles all peripheral devices (SC2000, HDLC, DSPs,
T1XC) and host PC functions (Board Locator Technology, programmable
interrupts, and shared RAM). The Board Locator Technology circuit
inside the Traffic Controller ASIC operates in conjunction with
a rotary switch, eliminating the need to set confusing jumpers
or DIP switches. The Board Locator Technology is used to map all
T-1 boards' shared RAM to the same PC memory space.
Technical
Specifications for D/240SC-T1
-
Number of ports 24
-
Max. boards/system 4 (MS-DOS), 5 (OS/2); 16
(UNIX, Windows NT & 2000). Number may be limited by application
and system performance.
-
Digital network interface Onboard DSX-1 interface
Resource sharing bus PEB, SCbus, interoperable with H.100 CT
Bus using cable adapter
-
Control microprocessor Two Intel Intel486 GX
processors @ 28.5 MHz, 0 wait state
-
Digital signal processors Three Motorola DSP56002
@ 49MHz to 66 MHz, each with 32 K word private, 0 wait state
SRAM
HOST
INTERFACE:
-
Bus compatibility IEEE P996 ISA compatible (IBM
PC AT)
Bus speed 8 MHz typical
-
Bus mode Automatically configures to 8- or 16-bit
transfer mode
-
Shared memory 32 Kbyte page
-
Base addresses 8000h to E800h, on 32 K boundaries.
All boards share the same base address. Shared memory is page
mapped in/out dynamically as needed.
-
Interrupt level IRQ 2/9, 3, 4, 5, 6, 7, 10,
11, 12, 14, 15, software selectable. One IRQ line must be shared
by all boards.
-
I/O ports None
TELEPHONE
INTERFACE:
-
Clock rate 1.544 Mb/s ±32 ppm
-
Level 3.0 V (nominal)
-
Pulse width 323.85 ns (nominal)
-
Line impedance 100 ohms ±10%
-
Other electrical characteristics Complies with
AT&T 62411 and ANSI T1.403-1989
-
Framing SF (D3/D4), ESF for ISDN
-
Line coding AMI, AMI with B7 stuffing, B8ZS
-
Clock and data recovery Complies with AT&T
TR62411 and Bellcore TA-TSY-000170
-
Jitter tolerance Complies with AT&T TR62411
and ANSI T1.403-1989
-
Connectors RJ-48C
-
Loopback Supports switch selectable local analog
loopback and software selectable local digital loopback
POWER
REQUIREMENTS:
-
+5 VDC 2.1 A, typical; 2.5 A, max.
-
+12 VDC 30 mA typical; 40 mA max.
-
12 VDC 30 mA typical; 40 mA max.
-
Operating temperature 0° C to +50° C
-
Storage temperature 20° C to +70°
C
-
Humidity 8% to 80% noncondensing
-
Form factor PC AT, 13.3 in. long. 0.793 in.
wide (total envelope), 4.5 in. high (excluding edge connector)
SAFETY
AND EMI CERTIFICATIONS:
-
United States FCC part 68 ID#: EBZUSA-20078-XD-N
UL: 1950 (E96804)
-
Canada DOC: 885 5959 A CSA: 950 (LR 84340)
-
Estimated MTBF 269,000 hours per Bellcore Method
I
-
Warranty Three years standard
Technical
Specifications for D/240PCI-T1
-
Number of ports 24
-
Max. boards/system 16 (UNIX, Windows NT). Number
may be limited by application and system performance.
-
Digital network interface Onboard DSX-1 interface
-
Resource sharing bus SCbus, H.100 CT Bus/SCbus
-
Control microprocessor Two Intel Intel486 GX
processors @ 28.5 MHz, 0 wait state
-
Digital signal processors Three Motorola DSP56002
@ 49MHz to 66 MHz, each with 64 K word private, 0 wait state
SRAM
HOST
INTERFACE:
-
Bus compatibility PCI. Complies with PCISIG
Bus Specification, Rev. 2.2
-
Bus speed 33 MHz max
-
Bus mode 32- to 16-bit conversion in target
mode
-
Shared memory 64 Kbyte page
-
I/O ports None
TELEPHONE
INTERFACE:
-
Clock rate 1.544 Mb/s ±32 ppm
-
Level 3.0 V (nominal)
-
Pulse width 323.85 ns (nominal)
-
Line impedance 100 ohm ±10%
-
Other electrical characteristics Comply with
AT&T 62411 and ANSI T1.403-1989
-
Framing SF (D3/D4), ESF for ISDN
-
Line coding AMI, AMI with B7 stuffing, B8ZS
-
Clock and data recovery complies with AT&T
TR62411 and Bellcore TA-TSY-000170
-
Jitter tolerance complies with AT&T TR62411
and ANSI T1.403-1989
-
Connectors RJ-48C
-
Telephony bus connector H.100-style 68-pin fine
pitch card edge connector
-
Loopback supports switch selectable local analog
loopback and software selectable local digital loopback
POWER
REQUIREMENTS:
-
+5 VDC 2.3 A, typical; 2.8 A max.
-
+12 VDC 30 mA typical; 40 mA max.
-
12 VDC 30 mA typical; 40 mA max.
-
Operating temperature 0° C to +50° C
-
Storage temperature 20° C to +70°
C
-
Humidity 8% to 80% noncondensing
-
Form factor PCI long card ,12.3 in. long.(without
edge retainer) or 13.3 in. long (with edge retainer), 0.79 in.
wide (total envelope), 3.87 in. high (excluding edge connector)
SAFETY
AND EMI CERTIFICATIONS:
-
United States FCC part 68 ID#: EBZUSA-20078-XD-N
UL: 1950 (E96804)
-
Canada DOC: 885 5959 A CSA: 950 (LR 84340)
-
Estimated MTBF 150,000 hours per Bellcore Method
I
-
Warranty Three years standard
AUDIO
SIGNAL:
-
Receive range (T-1) 40dbm0 to +2.5 dBm0
nominal, configurable by parameter** (E-1) 43 to +2.5
dBm0 nominal, configurable by parameter**
-
Automatic gain control Application can enable/disable.
-
Above 18 dBm0 (T-1) or 21 dBm0 (E-1)
results in full scale recording, configurable by parameter.**
-
Silence detection 38 dBm0 nominal, software
adjustable**
-
Transmit level (weighted average) (T-1) 9
dBm0 nominal, configurable by parameter** (E-1) 12.5 dBm0
nominal, configurable by parameter**
-
Transmit volume control 40 dB adjustment range,
with application-definable increments and legal limit cap
FREQUENCY
RESPONSE:
-
24 Kb/s 300 Hz to 2600 Hz ±3 dB
-
32 Kb/s 300 Hz to 3400 Hz ±3 dB
-
48 Kb/s 300 Hz to 2600 Hz ±3 dB
-
64 Kb/s 300 Hz to 3400 Hz ±3 dB
AUDIO
DIGITIZING:
-
24 Kb/s OKI ADPCM @ 6 kHz sampling
-
32 Kb/s OKI ADPCM @ 8 kHz sampling
-
48 Kb/s A-law PCM @ 6 kHz sampling
-
64 Kb/s A-law PCM @ 8 kHz sampling
-
Digitization selection Selectable by application
on function call-by-call basis
-
Playback speed control Pitch controlled; Available
for 24 and 32 Kb/s data rates; Adjustment range: ±50%;
adjustable through application or programmable DTMF control
DTMF
TONE DETECTION:
-
DTMF digits 0 to 9, *, #, A, B, C, D per CCITT
Q.23
-
Dynamic range 36 dBm0 to 3 dBm0
(T-1) or 39 dBm0 to +0 dBm0 (E-1) per tone, configurable
by parameter**
-
Minimum tone duration 40 ms, can be increased
with software configuration
-
Interdigit timing Detects like digits with a
>40 ms interdigit delay. Detects different digits with a
0 ms interdigit delay.
-
Acceptable twist and frequency variation (T-1)
meets Bellcore LSSGR Sec 6 and EIA RS464A requirements
(E-1) Meets appropriate CCITT specifications**
-
Noise tolerance Meets Bellcore LSSGR Sec 6 and
EIA 464 requirements for Gaussian, impulse, and power line noise
tolerance
-
Cut through (T-1) Local echo cancellation permits
100% detection with a >4.5 dB return loss line
-
(E-1) Digital trunks use separate transmit and
receive paths to network. Performance dependent on far end handset's
match to local analog loop.
-
Talk off Detects less than 20 digits while monitoring
Bellcore TR-TSY-000763 standard speech tapes (LSSGR requirements
specify detecting no more than 470 total digits). Detects 0
digits while monitoring MITEL speech tape #CM 7291.
GLOBAL
TONE DETECTION:
-
Tone type Programmable for single or dual
-
Max. number of tones Application dependent
-
Frequency range Programmable within 300 to 3500
Hz
-
Max. frequency deviation Programmable in 5 Hz
increments
-
Frequency resolution ±5 Hz. Separation
of dual frequency tones is limited to 62.5 Hz at a signal-to-noise
ratio of 20 dB
-
Timing Programmable cadence qualifier, in 10
ms increments
-
Dynamic range (T-1) Programmable, default set
at 36 dBm0 to 0 dBm0 (single tone) 3 dBm0
(dual tone)
(E-1) Programmable, default set at 39 dBm0 to +0 dBm0
per tone
GLOBAL
TONE GENERATION:
-
Tone type Generate single or dual tones
-
Frequency range Programmable within 200 Hz to
4000 Hz
-
Frequency resolution 1 Hz
-
Duration 10 ms increments
-
Amplitude (T-1) 43 dBm0 to 3 dBm0
per tone nominal, programmable
-
(E-1) 40 dBm0 to 0 dBm0 per tone nominal,
programmable
MF SIGNALING (T-1): R1
MF digits 0 to 9, KP, ST, ST1, ST2, ST3 per Bellcore LSSGR Sec
6, TR-NWT-000506 and CCITT Q.321
Transmit level Complies with Bellcore LSSGR Sec 6, TR-NWT-000506
-
Signaling mechanism Complies with Bellcore LSSGR
Sec 6, TR-NWT-000506
-
Dynamic range for detection 25 dBm0 to
3 dBm0 per tone
-
Acceptable twist 6 dB
-
Acceptable freq. variation Less than ±1
Hz
-
MF SIGNALING (E-1): R2
-
MF digits All 15 forward and backward signal
tones per CCITT Q.441
-
Transmit Level 8 dBm0 per tone, nominal,
per CCITT Q.454; programmable
-
Signaling mechanism Supports the R2 compelled
signaling cycle and non-compelled pulse requirements per CCITT
Q.457 and Q.442
-
Dynamic range for detection 35 dBm0 to
5 dBm0 per tone
-
Acceptable twist 6 dB
-
Acceptable freq. variation Less than ±1
Hz
CALL
PROGRESS ANALYSIS:
-
Busy tone detection Default setting designed
to detect 74 out of 76 unique busy/congestion tones used in
97 countries as specified by CCITT Rec. E., Suppl #2. Default
uses both frequency and cadence detection. Application can select
frequency only for faster detection in specific environments.
Ring back detection Default setting designed to detect 83 out
of 87 unique ring back tones used in 96 countries as specified
by CCITT Rec. E., Suppl #2. uses both frequency and cadence
detection.
-
Positive Voice Detection accuracy 99% based
on tests on a database of real world calls in North America.
Performance in other markets may vary.
-
Positive Voice Detection speed Detects voice
in as little as 1/10th of a second
-
Positive Answering Machine Detection Accuracy
85% based on tests on a database of real world calls in North
America. Performance in other markets may vary.
-
Fax/modem detection Preprogrammed
-
Intercept detection Detects entire sequence
of the North American tri-tone. Other intercept tone sequences
can be programmed.
-
Dial tone detection before dialing Application
enable/disable; Supports up to three different user definable
dial tones; Programmable dial tone drop out debouncing
TONE
DIALING:
-
DTMF digits 0 to 9, *, #, A, B, C, D per Bellcore
LSSGR Sec 6, TR-NWT-000506
-
Frequency variation Less than ±1 Hz
-
Rate 10 digits/s, configurable by parameter**
-
Level 7.5 dBm0 per tone, nominal, configurable
by parameter**
PULSE
DIALING:
-
10 digits 0 to 9
-
Pulsing rate 10 pulses/s, nominal, configurable
by parameter**
-
Break ratio 60% nominal, configurable by parameter**
ANALOG
DISPLAY SERVICES INTERFACE (ADSI):
-
FSK generation per Bellcore TR- NWT-000030.CAS
tone generation and DTMF detection per Bellcore TR-NWT-001273
*All specifications are subject to change without notice.
**Configurable to meet country specific PTT requirements.
Actual specification may vary from country to country for approved
products.
Hardware
System Requirements for
D/240SC-T1:
D/240PCI-T1
-
Intel386, Intel486, or Pentium processor PCI
bus or mixed PCI/ISA bus computer.
-
Operating system hardware requirements vary
according to the number of channels being used.
- System must comply with PCISIG Bus Specification Rev. 2.2 or
later.
Additional
Components for D/240SC-T1
Multidrop PEB and SCbus cables(86-0055-001 [2-drop] to -008 [9-drop])
Additional
Components for D/240PCI-T1
Multidrop SCbus or CT Bus cables and CT Bus/SCbus Adapter
|